首页>技术中心>技术资讯>超声波液体流量计的二合一前置预处理
超声波液体流量计的二合一前置预处理
发布时间:2017-09-01
在众多的电子设备中,尤其是在测量、监测及控制系统中,越来越多地使用了传感器。传感器输出的模拟信号往往比较弱,而且常常伴有噪声或突发性干扰冲。为此.必须对传感器接收的信号进行前置预处理,以实现信号的放大、滤波和幅度控制,供后置电路进行信息处理。在同时具有发射与接收的电路系统中,发射传感器与接收传感器通常是分开专用的.即一个传感器专门用来发射,另一个传感器则专管接收。但在某些电子设备中.如超声波液体流量计,其发射和接收要求用两个传感器按一定的周期交林地进行。对这样的电路,如果将两个传感器接收的信号分另lJ进行放大处理.不仅会使电路变得复杂.而目_电路的一致性、可靠性也将随着元器件的增多而降低。本文介绍一种前置预处理电路,它可将两路传感器接收的信号合为一路进行信号的放大、滤波与自动增益控制。
2 基本考虑和原理框图
设两路传感器按一定周期交替地进行发射与接收,即传感器1发射时.传感器2进行接收;传感器2发射时,传感器1进行接收。因传感器l,2不是同时接收信号,它们接收到的信号在时间上是“串行”而非“并行”的,所以在不需要判断信号是哪一个传感器接收的情况卜.可将两路信号合在一起处理;而在需要对信号进行识另l时.只要用控制传感器交替收发的周期信号op对电路进行控制.就能方便地把两路信号分开。图l为电路总体框图,给出了信号的前置放大与自动增益控制流程。两个传感器接收到的信号经输入保护电路送入前放.在门信号控制下分时放大井合成一路输出至自动增益放大器,然后经滤波选出有用的信号再次进行放大.得到一定幅值的信号。该信号一方面送入后面的处理电路进行信号处理,另一方而送入比较电路.并将比较结果送入自动增益控制电路,产生一个随信号幅值变化的直流电平,用于控制自动增益放大电路的放大倍数。
3 主要器件和电路
1 单片中频放大器Mc1350
集成电路MC1350常作为中放用于收音机和电视机电路中。它的放大倍数受一外加电压控制。当外加电压升高时.放大倍数减小,反之则增大.白动增益(AGC)动态范围可达60dB。在整个AGC范围内具有稳定的输入导纳与输出导纳。MC135。的两个输入端可由变压器驱动.但无论是单端输入还是差动输入.输入端与地之间不允许有直流通路。两个输出端则通过一个具有中心抽头的线圈来供电。输出端电源可以与Mcl350共用一个十1Zv电源,但为使输出导纳保持稳定,最好另用一个独立的+lsv电源。
2 门控双通道输入宽带放大器Mc,445
MC1445是一个通用的门控宽带放大器.其典型应用有:视频升关、读出放大器、多路转换器、调幅器、移频键控电路、限幅器,八GC电路、脉冲放大器等。主要性能是宽频带50Mllz(典型值).通道选择时问20ns,差动输入、差动输出。
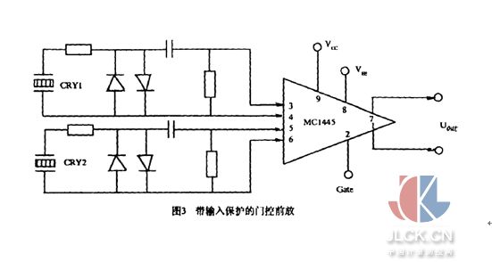
3 带输入保护的门控前放
为使两路传感器所接收的信号合成一路输出,根据上面的设计思想,可以选用门控双通道输入宽带放大器MC1445。图3为用Mc1445构成的前置放大电路。

两路传感器接收的信号分别经输入保护电路送入MC1445。这里采用控制传感器交替收发的周期信号OP作为其门控信号。当oP为高电平时.传感器l发射,传感器2接收.这时MCI445内部的运放A工作,将传感器2所接收的信号放大.并输出到自动增益控制放大器中;当OP为低电平时.传感器2发射.传感器l接收.运放B工作.传感器1的接收信号被放大。
4 自动增益放大器
信号传播媒介的不同或变化,两传感器之间距离的不同,外界环境的变化.以及其他一些干扰因素等,都会使传感器接收的信号强度产生大的变化和起伏。而信号的终端处理电路只能处理幅度变化不大的信号,信号过强过弱或忽大忽小都将使终端处理电路无法正常工作。为了让电路在一定的电源电压下能适应信号的大动态范围,就必须有高性能的动态范围压缩处理.也就是说需要对接收信号进行自动增益控制.使得输入信号的幅值变化范围很大时.能够严格地控制放大器的增益.使输出信号幅度保持不变或只有很小变化。
如前所述.集成中放Mcl350的放大倍数可由外界电压控制.因此我们可以将它用作AGc放大器。图4为自动增益放大电路。当比较电路判断接收信号过大时.由AGc控制电路产生一个较原先为高的直流电平.使MC1350的放大倍数降低.输出信号幅度减小;而当接收信号小于比较电平时,AGc控制电路就产生一个较原先为低的电平来提高MC1350的放大倍数。因两路信号是合成一路输入Mcl350输入端的,而两路信号的幅值及变化可能不一样,因此在对输入信号进行自动增益控制时.必须区分信号是由哪一个传感器接收进来的.这个功能可以由自动增益控制电路中的OP信号完成。MCI350的两个输出端是通过一个具有中心抽头的线圈来供电的,若在输出脚l和脚8之问接入一个电容.就可以构成一个LC选频网络.实现信号的滤波。这样.由一个放大器及其外接电路就起到了自动增益控制与滤波两个作用。变压器祸合输出则使信号与地产生了有效的隔离。LC滤波和变压器祸合输出两项措施大大地增强了电路的抗干扰能力。
5 输出级
输出级由放大器BGI和射极输出器BGZ组成.如图5所示。BGI对信号再一次进行放大。因其输入是由变压器祸合过来的,基极处于零偏压状态.所以在设计中可采用正负两组电源供电.放大倍数由R:、RZ的比值决定。射级输出器BGZ的输出阻抗很小,提高了电路的负载能力。
6 自动增益控制电路
自动增益放大器MC1350需要用一个变化的外界电压来控制其放大倍数.这个电压就由自动增益控制电路来实现。该电路主要由泵电路、积分放大器和切换电路三个部分组成。
输出级输出的信号送入比较器进行比较.当输出信号幅度大于比较电平时,比较电路输出一个逻辑高电平“l”.信号幅度小于比较电平时,比较电路输出一个逻辑低电平“o”(我们把这个信号定义为信号Il/L)。I钊L信号送入泵电路中,由周期信号OP来判断这个信一号是由哪一路信号经比较后产生的,以决定将泵电路产生的积分脉冲送入积分器A还是积分器B。当H/L为高电平时,泵电路产生一个SV负脉冲,通过积分放大器,使自动增益放大器的控制电平上升,降低该放大器的放大倍数;当II/L为低电平时.泵电路产生一个sv正脉冲,使控制电平卜降,自动增益放大器放大倍数升高。积分器A对应传感器l,积分器B对应传感器2.只有当其对应的传感器作接收用时:积分器才输入积分脉冲进行积分,产生新的控制电平AGC・v.或AGC・VZ,并保持这一电压.在所对应的传感器再一次接收信号时,通过切换开关送至受控放大器Mc1350.实现信号幅度的自动调节。切换升关的作IJJ就是在c)J,信号的控制卜将积分器A和B产生的控制电平AGC・v、、AGC・V:合成一路AGC・v输出,正确地调整两路接收信号的输出幅度。
(5) 水听器稳定性考核
在一年中对该水听器进行了六次重复性考核,最大误差小于士o.5dB(包括各种误差在内)。
7 结束语
本文所述水听器是根据“八五“国防计量测试技术发展计划立项课题研制而成的,并已通过国防科工委组织的专家鉴定组的鉴定。口前该水听器已在本单位并提供给其他单位使用,得到了较满意的使用效果。在研制工作中得到了黄进来、张先摊等同志的大力支援和帮助.在此表示谢意。
摘自:中国计量测控网







